PP电子

振动筛

振动筛12年生产厂家

过滤,除杂,分级

当前位置:首页 > 产品中心 > 实验室振动筛

实验室振动筛

简述:也叫实验室振筛机,主要用在实验室对粉末、散装颗粒以及悬浮液进行分级和粒度测定,通过不同尺寸的筛子分离出不同尺寸的样品,可堆叠8层筛框(含筛底)。

75mm/100mm/200mm/300mm 直径:

125mm-20μm网孔尺寸:

≤200g投料量:

特点:具备0-99分钟定时功能,可确保试验的重复性和一致性。

筛框材质:不锈钢/尼龙/黄铜

筛网类型:金属丝编织网(2.36mm-0.02mm)、冲孔板筛网(用于大网孔,≥0.2mm)、电成型筛网(高精度:500mm-5μ)

厂家直销
一对一指导
上门安装
质保1年

全国统一销售热线0373-2682 333

免费获取报价

实验室振动筛

实验室振动筛简介

实验室振动筛是指用在科研生产、试验室、质检室以及高等院校试验室对颗粒状、粉状物料的粒度结构、液态类固体物含量及杂物量的筛分、过滤、检测,筛框的直径常见的多为200mm或者300mm,也可以根据客户要求定制成400mm,配备时间继电器,0-99分钟定时功能,可确保试验重复性,可将一种颗粒料同时精密分出2—7个粒子段,具有噪音小、重量轻、平台操作无须固定等特点。

实验室振动筛分机

实验室用300/200型试验筛国标分析筛又称300试验筛或200试验筛、实验检验筛、标准分析筛、国标试验筛、实验室振动筛、试验室振 动筛、数控试验筛、数显试验筛、验粉筛、标准筛,是集粉粒分级、液体过滤为一体的标准分析筛;适用于实验室,质检室对颗粒、粉类进行粒度结构分析,液 体类固形物含量及杂物量的测试分析。具有噪音低、效率高、精度高等特点。

PP电子(中国)官方网站

实验室振动筛图片

产品图片

实验室振动筛适用行业

适用行业

实验室振动筛可用于各级高校、研究院等实验室中测量粒度,可以快速有效地测量125 mm至20μm的固体颗粒尺寸。可以使用孔径小于20μm的特殊筛网,但应了解,筛网越细,某些类型的颗粒状固体就越容易堵塞或堵塞孔径。然而,使用特殊技术可以进行"微"筛分至 5 μm。

实验室振动筛设备

实验室振动筛分类

实验室振动筛分为常规机型(200mm、300mm、400mm等型号)、超声波实验室振动筛、拍击式振动筛、磁悬浮实验室振动筛等四种。

超声波实验室振动筛:是在常规机型上增加了超声波筛分系统,检验精度更高更准确,是当前实验室在做微细粉分样筛选时网孔堵塞的常用检验设备。

拍击式振动筛:同时具备拍击和往复两种振动形式,下料快、不易堵塞,适合实验室对物料进行筛分检测,尤其适用于金刚石微粉、超硬材料行业生产分级工序,高强度、大频率地反复使用。

磁悬浮实验室振动筛:涵盖了机械物理振动和高频电磁振动,集三功能为一体——上下振动、前后往复运动、左右摇摆,使物料在内产生了往复悬转运动,筛分任何物料都不会残留在网孔上,细可筛至5微米。

实验室振动筛技术参数

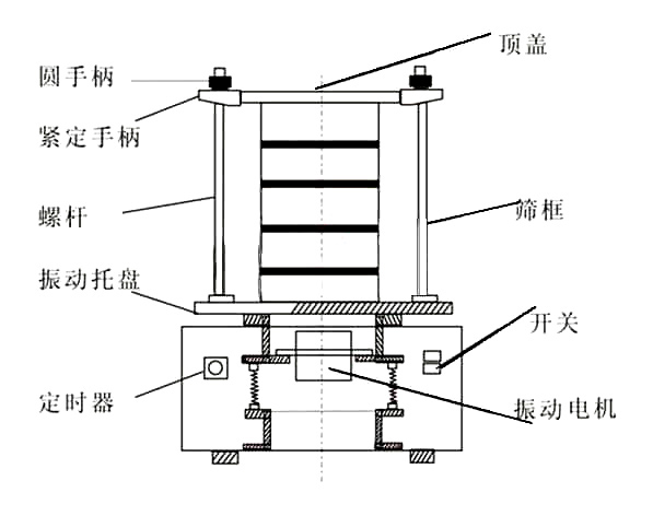
实验室振动筛分机剖视图

序号 名称 单位 数据
01 标淮筛体 8
02 筛体直径 mm φ200 φ100 φ75
03 筛分粒度 mm 0.038-5
04 噪音 dB ≤50
05 投料量(—次性) Kg ≤1
06 振幅 mm ≤5
07 电机 电压 V 220
转速 r/min 1420
功率 kw 0.125
08 外形尺寸 mm 360×300×736
09 整机重量 Kg 25

实验室振动筛视频

实验室振动筛检测医药颗粒

超声波试验筛筛分药粉

拍击式振动筛筛分土壤

实验室振动筛工作原理

原理图片

实验室振动筛振动原理:以YZU立式振动电机作为整机振动源,通过振动电机带动上部振动盘振动,再通过振动盘传导至安放在振动盘上部筛框上,然后由需要检测目数的筛框把小于筛网孔径的物料颗粒筛分至下层筛框,如此层层筛。姑坎闵缚蚰谥涣粝嗤6鹊奈锪,达到不同粒度的分离并确定此物料的粒度组成,使筛框中的物料能非常有效的起到过滤、分级、筛分目的。

实验室振动筛特点

筛分

筛框图

可设定1—60分钟

试验筛机+筛框图片

1、开口尺寸为5英寸(125毫米)至635目(20微米),筛分精度高。

2、可单个使用,也可堆叠8层使用(含筛底),可将一种物料连续分成7种不同规格的粒子段。

3、筛框采用SUS304不锈钢材质拉伸抛光而成,壁厚0.6mm,光泽均匀一致,坚固耐用,无磁性。

4、筛网与筛框通过锡焊成型固定,杜绝松弛晃动问题,可在>300度温度稳定作业。

5、可装有自动控制定时器,可设定1-99分钟,确保实验的重复性、一致性。

实验室振动筛和人工筛的区别

筛分和机械筛分

人工手筛费时,劳动强度大,"机械筛分"将筛子按孔径大小叠在一起,给料放在上面一层筛子上,并加上盖和底盘,一般叠5-6个筛子,然后放在实验室振动筛上进行机械振动筛分。通常振动时间为20分钟,检测筛分质量时,再用筛机5分钟,如每分钟筛下量小0.2%试验样量即为合格,对于粗粒,过筛率小于1%即可。为避免损失和延长筛分时间,有时在开始筛分时先用较细的筛子将粉尘筛除。

实验室振动筛对应目数

目数与孔径

数目 网孔(mm) 数目 网孔(mm) 数目 网孔(mm) 数目 网孔(mm)
2 13 26 0.71 90 0.16 260 0.06
3 6.5 28 0.63 100 0.154 280 0.055
4 5 30 0.6 110 0.14 300 0.054
5 4 32 0.55 115 0.13 320 0.048
6 3.2 36 0.5 120 0.125 325 0.045
7 2.8 40 0.45 130 0.111 350 0.041
8 2.5 45 0.4 140 0.105 360 0.4
9 2.2 50 0.355 150 0.1 400 0.0385
10 2 55 0.315 160 0.098 500 0.03
12 1.6 60 0.3 180 0.09    
14 1.43 65 0.25 190 0.08    
16 1.25 70 0.22 200 0.075    
18 1 75 0.2 220 0.07    
20 0.9 80 0.18 240 0.065    
24 0.8 85 0.17 250 0.063    
不锈钢分样筛规格,如需特殊规格可联系在线客服咨询

实验室振动筛客户案例

实验室振动筛使用现场图

实验室振动筛使用方法

操作步骤

1、设备要水平放置,确认电源和铭牌要求相符,并确保接地;注意振动部分不能与其它物体接触;检查各部螺栓是否锁紧。

2、根据被检验物料及相应的标准来确定要选用的标准筛框。

3、把实验室振动筛筛框按孔径从小到大,从下到上依次叠放到试验筛机振动盘上。

4、将被检验物料放入上端的标准筛框里,盖上标准筛上盖,根据标准筛框的总高度调整调节杆高度,然后用压板和锁紧螺母对标准筛框进行定位压紧(注:两侧用力应一致)。

5、根据物料性质及投料量,在定时器上设定运行时间,然后打开电源开关,标准筛即开始工作。

6、试验筛工作停止后,拧开锁紧螺母,取下压板,小心取走标准筛框。

7、切断电源。

sitemap网站地图